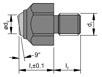
BU30130 Self-Aligning Pads – Hex Part

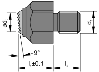
BU30130 Self-Aligning Pads – Hex Part

  • Ball – Bearing steel, Hardened, Bright
  • Body – Alloy steel, Tempered, Blackened
  • Ball surface – Ribbed, Flat
  • Ball is secured against rotation and limited to an angular movement of 9° only

Description

Part No. d1 d2 l1 l2 Ball A/F e
Flat surface ball Ribbed surface ball
BU30130-M10190 BU30130-M10191 M10 10.5 18.5 10 16 19 21
BU30130-M12190 BU30130-M12191 M12 10.5 18.5 12 16 19 21
BU30130-M16270 BU30130-M16271 M16 16 22 16 20 27 30
BU30130-M16300 BU30130-M16301 M16 20 28 16 25 30 33